單段錘式破碎機,單段碎石機圖片和型號
單段錘式破碎機,單段碎石機圖片和型號
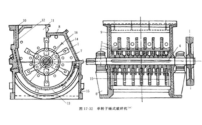
單段錘式破碎機結構簡單操作方便,單轉子生產能耗低,破碎機錘頭的自重大生產時設備的生產效率高產量大,高科技的轉子結構和高速的運行速度能夠物料的破碎以及連續生產。詳細解答
詳細解答
礦山石料的生產和使用過程中,為什么要將物料進行破碎產呢?其中主要是各個行業對于物料及生產的要求不同造成的。其中化工行業的石粉物料應用,只有將大塊的石頭等物料進行破碎磨成細粉才能夠價格石料以及化學成分之間的接觸,提高物料的生產和化工物料的制作過程。在建筑中,石子物料的生產能夠加大路面的硬度以及建筑中水泥的混合后能夠增強建筑的硬度,建設的安和。
單段錘式破碎機顧名思義是有一個轉子組成的錘式破碎機設備,其與雙轉子錘式破碎機設備相比較雖然少了一個轉子,但是成本更低操作更方便。其中單段錘式破碎機設備能夠破碎物料抗壓強度小于250Mpa,物料的硬度小于10Mhos的物料。其中有軟硬巖物料煤、石灰石等物料硬度在2-4,抗壓強度在100Mpa左右;以及中硬度物料大理巖、花崗巖等物料抗壓強度在200Mpa左右,莫斯硬度在10左右。
單段錘式破碎機設備的特點:
優點:單段錘式破碎機結構簡單操作方便,單轉子生產能耗低,破碎機錘頭的自重大生產時設備的生產效率高產量大,高科技的轉子結構和高速的運行速度能夠物料的破碎以及連續生產。

缺點:主要的破碎部件錘頭以及襯板等需要與物料進行連續的直接碰撞和破碎部件的磨損大,破碎機生產過程中巖石物料中如果混入金屬塊將會影響生產甚至磨壞設備,物料的粘度較大時將會出現堵料的情況。
針對單段錘式破碎機設備的缺點,中譽鼎力生產和了的產品及調節襯板裝置。單段錘式破碎機生產時如果混入不宜破碎的高硬度物料以及金屬等物料時將會頂住調節襯板擴大出口將大塊這些物料排出設備避免反復的破碎磨損。同時無篦條的設計將會使物料在濕度更高的情況下也能夠排出設備,防止粘連篦條造成堵料的情況,因此該設備能夠破碎濕料。
單段錘式破碎機的型號多樣主要有PCF以及PCZ等類型,不同廠家也會根據自身的設備特點以及設備的生產性能進行定義。其中中譽鼎力的單段錘式破碎機設備主要是PC系列的,其中有50噸到3000噸的各種時產量的設備。

















